佳能专利申请:各种镜片…微型四分之三传感器尺寸?

这是佳能的一项奇怪的镜头专利申请。
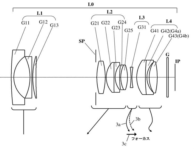
不同寻常的是,佳能的镜头有5种左右不同的传感器尺寸。广播摄像机,2/3“紧凑,1”powershot, APS-C和全帧。
时不时地,你会看到一些奇怪的图像,比如这张,图像的高度是10.75毫米。唯一接近对角线21。50的传感器是Micro 4 / 3,也就是21。60。对于微四分之三的镜头,可能需要轻微的修正,以纠正略小的图像圆。
唯一的其他应用将是一个新的传感器的大小略小于微四分之三。这可能是这样的情况,考虑到这些专利的后焦,或焦平面距离是6mm到15mm -这比微四分之三短,焦平面距离是19.25mm。然而,镜头可以镶嵌到安装更接近传感器,13mm的镶嵌是一个相当长的距离。显示的镜头是;
12mm - 48mm 1.7-4.0
12mm - 47mm 1.7-2.8
12mm - 24mm 1.7-4.0
一个例子体现;
焦距12.16 23.45 47.44
F数1.75 2.69 4.09
半视场角(度)41.48 24.63 12.77
图像高度10.75 10.75 10.75
镜头总长129.97 129.97 129.97
BF(空中)13.60 8.77 9.59
像很多专利一样,这是一个研究领域,佳能正试图为这一设计申请专利。当然,这可能永远不会成为一个产品,但我认为它肯定是……不同。
原文转自佳能新闻
中文
英文
